Una trovata stravagante, a tratti geniale ma, certo, tutto dipenderà dal risultato finale e da come verrà messa in pratica. Stiamo parlando dell’ultimo brevetto depositato da Apple negli USA e che riguarda un portatile dotato di una tastiera con un tasto molto molto speciale.
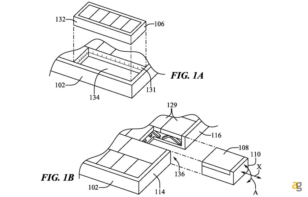
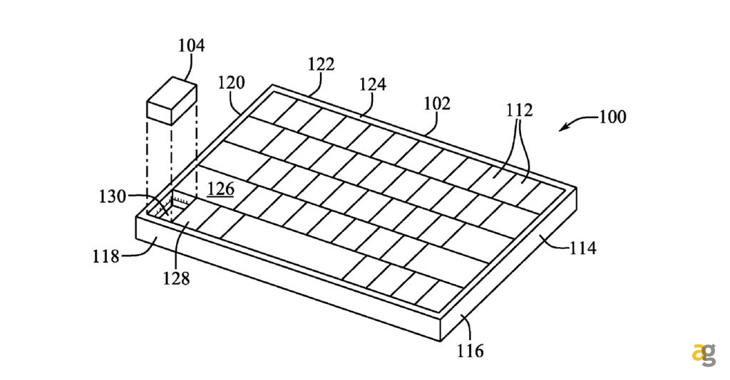
Vi è mai capitato usando il vostro MacBook in mobilità di desiderare un mouse ma di non avere la voglia di un altro oggetto da portarsi dietro, ricaricare ed al quale pensare? Ecco, il brevetto in questione riguarda una tastiera con meccanismo a forbice dotata di un tasto all’apparenza come gli altri e anzi che potrebbe pure funzionare come gli altri per scrivere o fare altro ma che all’occorrenza può essere estratto ed usato come mouse. Significa quindi che questo piccolo tasto sarebbe dotato di una mini batteria e di un sensore di posizione.
Il brevetto contiene anche più modi di estrazione del tasto, sia quello verticale, che prevede il sollevamento, sia quello orizzontale, cioè un tasto posto a bordo tastiera che viene fatto scorrere ed “esce” così dal PC. La seconda sarebbe probabilmente più invasiva per quanto riguarda l’intera progettazione della scocca, che dovrebbe prevedere un recesso particolare.
Va detto che le aziende grandi come Apple ogni anno depositano decine se non centinaia di brevetti, giusto per tenere aperta ogni ipotesi, e solo pochissimi di questi diventano realtà. A voi che ve ne pare? Vi farebbe comodo avere un mouse sempre a portata di dito?


